本公司生产的ZRLX/Q电动三通分流调节阀高由PSL系列和3810L系列电子式执行机构和单座调节阀组成。电源为220V.AC 50Hz,含有伺服放大器、位置信号发生器、位置限位开关以及阀位显示。可直接接受工业控制仪表或计算机等输出的(4-20mADC或1-5VDC)进行阀门的开度控制,达到调节介质压力流量、温度等目的。同时可以输出(4-20mADC或1-5VDC)阀位反馈信号。广泛应用于电力、石油、化工、冶金、环保、水处理、轻工、建材等工业自动化系统领域。
联系锋锐德ZRLX/Q电动三通分流调节阀有合流和分流二种型式,由DKZ电动执行机构和三通合流或三通分流调节组成,以电源为动力,接受统一的标准信号0~10mA DC或4-20mA Dc驱使阀门开度与此操作信号相对应。电动三通合流分流调节阀主要用于三通管道,用于主管道分为两条管道和两条管道合为一台管路的场合。
一、ZRLX/Q电动三通分流调节阀概述
ZRLX/Q电动三通调节阀有合流和分流二种型式,由DKZ电动执行机构和三通合流或三通分流调节组成,以电源为动力,接受统一的标准信号0~10mA DC或4-20mA Dc驱使阀门开度与此操作信号相对应。合分流阀的作用是将一种流体分成两路流体。分流合流阀只能对应选用,但当DN≤80时,合流阀可用于分流场合。可替代两台单、双座调节阀,节省投资,占据空间小。三通调节阀通常用于热交换器的两种介质调节,及简单的配比调节。
电动三通调节阀产品口径由25mm至200mm,公称压力有1.0、1.6、4.0、6.4MPa,温度范围-60℃至450℃,控制信号为0~10或4~20mA.DC。配用不同的执行机构可分为普通型和电子型两种。
本系列电动三通调节阀是以电为驱动方式,电动执行机构的电路板及其他元件在发生故障时可能会产生火花。所以在使用环境较为恶劣或输送易燃易爆的介质时建议选择气动三通调节阀。
二、ZAZQ、X电动三通合流分流调节阀性能指标
项目 | 指标值 | |
基本误差% | ≤±3.5 | |
回差% | ≤2.5 | |
死区% | ≤3.0 | |
始终点偏差% | 电开、电关 | ±2.5 |
±2.5 | ||
允许泄量L/H | 符合JB/T7387-94Ⅲ级小于阀的额定容量×10-3 | |
三、ZAZQ、X电动三通调节阀技术参数
公称通径mm | 合流 | 25 | 32 | 40 | 50 | 65 | 80 | 100 | 125 | 150 | 200 | 250 | 300 |
分流 | 80 | 100 | 125 | 150 | 200 | 250 | 300 | ||||||
额定流量系数Kv | 合流 | 8.5 | 13 | 21 | 34 | 52 | 85 | 135 | 210 | 340 | 535 | 800 | 1260 |
分流 | 85 | 135 | 210 | 340 | 535 | 800 | 1260 | ||||||
公称压力 MPa | 1.6 4.0 6.0 | ||||||||||||
流量特性 | 直线 | ||||||||||||
执 | Ⅱ型 | DKZ-310 | DKZ-310 | DKZ-410 | DKZ-510 | DKZ-510 | |||||||
Ⅲ型 | DKZ-510C | DKZ-310C | DKZ-410C | DKZ-510C | DKZ-510C | ||||||||
出轴推力(N) | 4000 | 4000 | 6400 | 16000 | 16000 | ||||||||
行程mm | 16 | 25 | 40 | 60 | 100 | ||||||||
上阀盖型式 | 1.6 | 1.0 | 2.5 | 1.6 | 1.5 | 1.0 | 0.65 | 0.4 | 0.3 | 0.16 | 0.26 | 0.18 | |
允许压差(MPa) | 普通式(常温型),热片式(中温型) | ||||||||||||
介质温度℃ | -40~230℃(常温型),散热片式230~450℃(中温型),特殊订货-100~600℃ | ||||||||||||
可调比 | 30:1 | ||||||||||||
法兰标准 | 铸铁按JB78-59,铸钢按JB79-59 | ||||||||||||
输入阻抗 | Ⅱ型:200 Ⅲ型:250 | ||||||||||||
出厂状态 | 电开(对上阀座而言),如需电关,订货时应注明 | ||||||||||||
| 注:表中尺寸为不带标准附件数据。另由于产品改进技术创新参数可能有一定变化,请咨询公司技术部门索取有效数据。 |
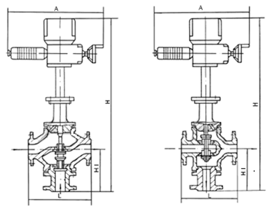
四、ZAZQ、X电动三通调节阀外形尺寸

订货时请填写《规格书》或注明以下内容:
若订货前还未选定电动三通调节阀型号,请向我们提供您的电动三通调节阀使用参数:
1.电动三通调节阀公称通径、额定流量系数KV,
2.电动三通调节阀流体性质(包括公称压力、温度、粘度或酸碱性),
3.电动三通调节阀信号压力、弹簧范围,
4.电动三通调节阀阀体、阀芯材料,
5.电动三通调节阀是否带附件,说明附件型号。以便我们的为您正确选型。

上一款:ZDLP,ZDLM电动高温调节阀
下一款:ZDLX/Q电动三通调节阀
高温电动调节阀是一种在工业领域中广泛应用的自动控制设备。它通过电动执行器实现对流体的精确调节,适用于高温环境下的各种工艺控制。本文将介绍高温电动调节阀的工作原理和应用领域。